Tu carrito
No hay más productos en tu carrito
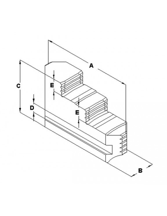
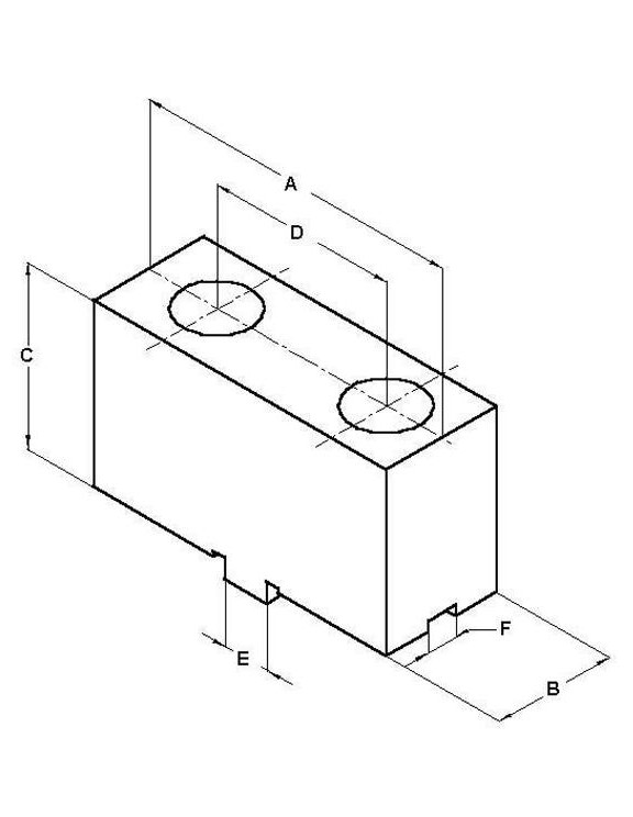
En este apartado encontrará nuestros bloques soporte estándar para montar en platos lisos, combinados, mesas y divisores. Toda nuestra gama de bloques estandarizada está fabricada en hierro fundido y con garra partida (garra base + garra superior).
Personalizamos nuestros bloques conforme a sus necesidades, desde el material hasta sus dimensiones....
